Ford запатентував імітатор механічного перемикача передач для електромобілів

Автор: Володимир Коломінов | 25 березня 2025, 10:18

Електрокари розганяються миттєво і не потребують перемикання передач. Але Ford вирішив, що це занадто нудно, і запатентував подобу важеля механічної коробки передач для EV. Він не змінює реальні передавальні числа, але створює ілюзію перемикання передач для любителів олдскульного водіння.

Що відомо

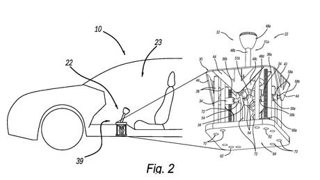
Патент під назвою "Shifter Assembly For Electric Vehicle", опублікований 20 березня, описує класичний важіль КПП, який кріпиться до підлоги, наче в старому Ford Mustang. Але замість з'єднання з механічною трансмісією він просто передає сигнали електронному контролеру, який змінює крутний момент двигуна. Тобто водій рухає важіль, ніби перемикаючи передачі, а електроніка імітує паузи в потужності, щоб створити відчуття механічної коробки автомобіля з двигуном внутрішнього згоряння.


Схема імітатора механічної трансмісії для електромобілів із патентної документації. Ілюстрація: Ford

Ідея не нова: Hyundai вже реалізувала подібний ефект в Ioniq 5 N за допомогою підрульових пелюсток, а Toyota випробовує електромобіль із симулятором зчеплення і навіть можливістю заглохнути. Однак Ford пішов іншим шляхом - в основу перемикача вбудовані невеликі мотори, які додають опір при перемиканні "передач" для повноти відчуттів.

Поки що це просто патент. Спочатку він був поданий у 2023 році, тож Ford думав про це деякий час. Чи дійде ця ідея до серійних автомобілів - невідомо.

Джерело: InsideEVs