A new patent has revealed that HONOR is working on a new smartphone with a sliding screen

By: Vlad Cherevko | 05.12.2024, 15:29

According to the latest information, HONOR may be working on its own sliding screen smartphone.

Here's What We Know

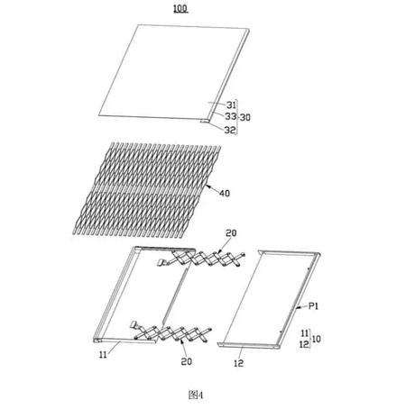
A patent registered with CNIPA (China National Intellectual Property Administration) was recently discovered that indicates the development of a device with a sliding or sliding display. According to the patent, the screen consists of two parts: one remains stationary and the other slides out to the side. These parts are connected and secured by elastic beams, allowing the screen to move smoothly.

HONOR has already made significant strides in foldable smartphones with the HONOR Magic V3, the thinnest and lightest foldable phone on the market. Now the company is looking to apply its expertise in the field of sliding screens as well.

No company has yet launched a commercially available smartphone with a sliding screen, although OPPO and LG have shown concepts of such devices. Whether HONOR will be able to repeat its success with sliding screens, time will tell.

Source: ithome, 91mobiles