Apple запатентовала гибкий смартфон, складывающийся втрое

Автор: Елена Щербань, 25 октября 2018, 23:38
Apple запатентовала гибкий смартфон, складывающийся втрое

Ведомство по патентам и товарным знакам США выдало компании Apple патент под названием «Устройства с гибким дисплеем». Несложно догадаться, что в нем описан гибкий смартфон, и он умеет складываться втрое!

Что за устройство

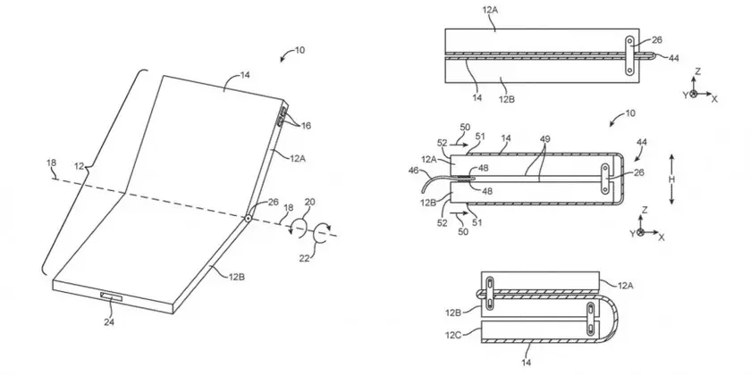
В документе говорится, что смартфон может состоять из нескольких частей корпуса, которые соединены между собой шарнирами. В сложенном состоянии экран может оказаться внутри или снаружи устройства.

Apple_Foldablephone_patent_1.jpg

При этом шарнирный механизм могут заменить магниты, крепежные элементы с крючками и петлями, выступы и прорези или другие структуры.

На одной из схем даже изображен гаджет, который можно сложить втрое. Получается, в сложенном состоянии это компактный смартфон, а в разложенном  практически планшет в большим дисплеем.

Apple_Foldablephone_patent_2.jpg

Правда, заявка на патент была подана еще в 2016 году, и за это время у Apple скопились десятки задумок, касающихся складных смартфонов. Поэтому не исключено, что такое устройство так и останется только на бумаге.

Источник: USPTO

Подписывайтесь на наш нескучный канал в Telegram, чтобы ничего не пропустить.