Apple запатентовала электронный свиток с OLED-экраном
На сайте Американского патентного ведомства появилась заявка на патент компании Apple. Устройство похоже на древний свиток с двумя скручиваемыми рулонами.
Особенности
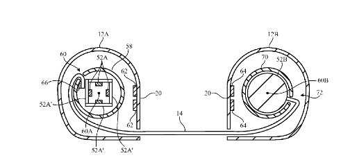
Патентованное устройство получило OLED-экран, который и будет сматываться в рулоны и крепиться на двух параллельных алюминиевых держателях. Внутри этих держателей встроят механизм который не даcт сворачиваться устройству и остальную начинку: процессор, оперативную и основную память, батареи, датчики и остальные нужные компоненты. Как вариант, туда же встраиваются две камеры для передачи стереоскопического изображения.

Когда ждать
Конечно же это только патент. Он может появится в продаже в ближайший год, а может навсегда остаться лишь новостью или частью истории. Тем не менее, электронный свиток с гибким дисплеем не новая, но интересная задумка для современного потребления информации. Поэтому рассчитываем, что подобный гаджет появится в разработке в ближайшие пару лет.
Источник: Appft
Подписывайтесь на наш нескучный канал в Telegram, чтобы ничего не пропустить.