Запатентованный дрон Samsung распознает жесты и взгляд
По информации издания The Verge, южнокорейский гигант Samsung запатентовал дрон. От других летающих гаджетов эта новинка отличается наличием системы наблюдения за человеком.
Особенности
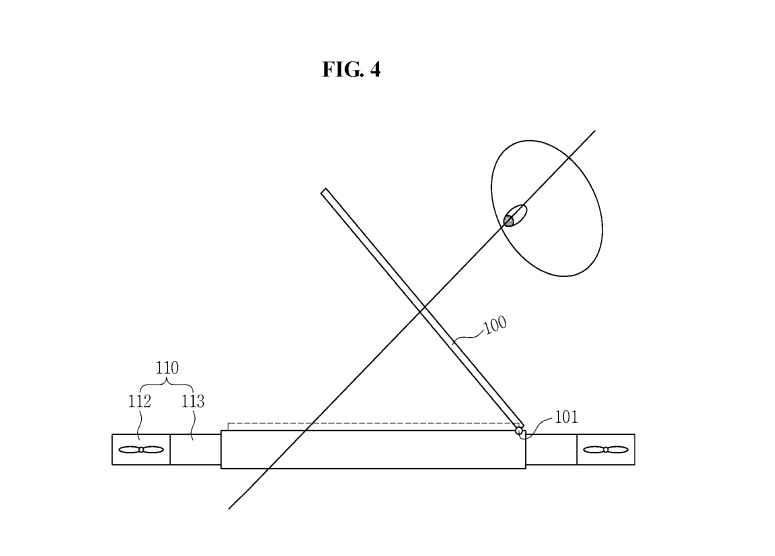
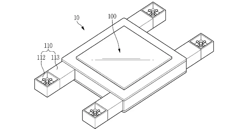
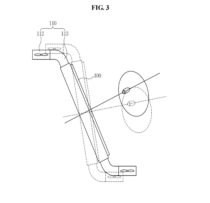
Дрон Samsung способен распознавать голоса, следить за руками и взглядом. Он также оснащен камерой, которая поможет им управлять. Само же управление тут завязано на движениях головы, глаз и рук. Среди начинки беспилотника выделяются дисплей, которые двигается в зависимости от положения пользователя, модули GPS и Wi-Fi, датчики движения, гироскоп, акселерометр, распознавание голоса и система вибрации.

Когда и чего ждать
Источник считает, что будущий дрон Samsung применит для рекламы своей продукции, но как это реализуют пока непонятно. О сроках выхода, характеристиках и цене дрона пока ничего неизвестно.
Источник: TheVerge
Подписывайтесь на наш нескучный канал в Telegram, чтобы ничего не пропустить.