Lenovo запатентовала гибкий ноутбук с тремя дисплеями
В базе данных Всемирной организации интеллектуальной собственности (World Intellectual Property Organization, WIPO) появился патент компании Lenovo на ноутбук с несколькими экранами.
Что показали
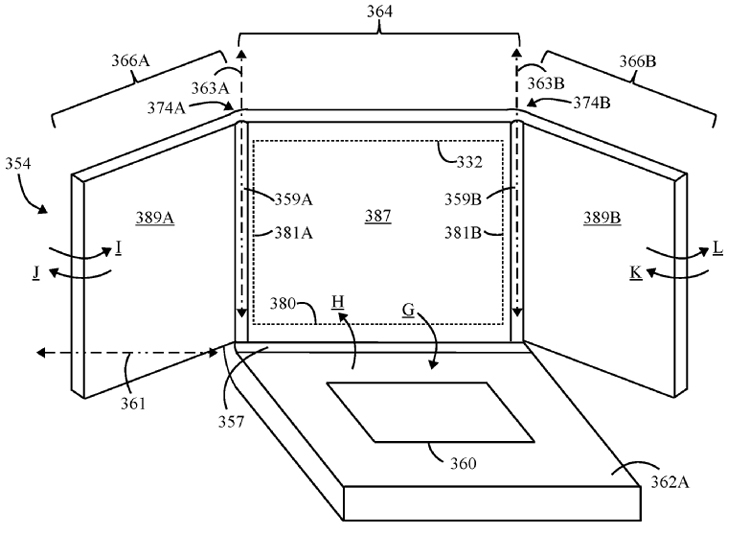
Судя по чертежам, портативный компьютер Lenovo можно снабдить двумя дополнительными экранами по бокам от главного дисплея. Они крепятся к ноутбуку шарнирным механизмом, а при желании лэптоп превращается в планшет с большим сенсорным экраном. Многодисплейный ноутбук-планшет получит камеры по обеим сторонам монитора.

По информации из описания, выясняется, что разработку можно использовать для создания складных смартфонов или фаблетов с двумя и больше гибкими экранами. О том пойдет ли технология в разработку, о дате ее выхода, характеристиках или цене пока ничего неизвестно.

Источник: Androidheadlines
Подписывайтесь на наш нескучный канал в Telegram, чтобы ничего не пропустить.