Nintendo запатентовала чехол, превращающий смартфон в GameBoy
Nintendo успешно запатентовала чехол для смартфона с дизайном Game Boy, а также физическими кнопками.
Что известно
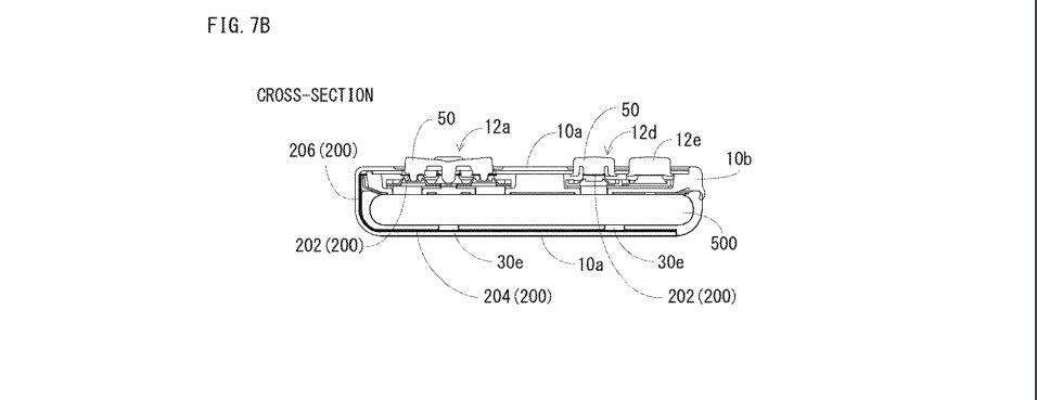
Компания использовала в патенте много букв и терминов, чтобы объяснить принцип работы, но на деле вы используете чехол как геймпад. Кейс закрывается с двух сторон, оставляя сверху окно для экрана. Снизу расположены физические кнопки с «проводящим слоем», которые нажимают на сенсорный экран, взаимодействуя с виртуальными клавишами. Получается такой себе геймпад, которому не нужен Bluetooth и провода.
Ради удобства инженеры оставили прорези для динамика, микрофона, а также USB и mini-jack. В патенте не названы смартфоны с поддержкой кейса, так что будет рассчитывать на смекалку Nintendo, которая подружит чехол со всеми моделями.
Патент подали еще 16 марта 2018 года, и, вероятно, компания готовит официальный эмулятор или переиздание классических игр Game Boy для смартфонов. Возможно, игроков ждет аналог Virtual Console, которая запускает классические игры Nintendo на Wii, Wii U и Nintendo 3DS.

Для тех, кто хочет знать больше:
Подписывайтесь на наш нескучный канал в Telegram, чтобы ничего не пропустить.