Galaxy Ring сможет заряжаться от смартфона - Samsung патентует новую технологию

Автор: Анастасия Бобкова, 03 апреля 2025, 22:31
Samsung поразила: Готовая зарядка для Galaxy Ring через телефонный слот Samsung запатентовала зарядку Galaxy Ring через слот в смартфоне. Источник: Samsung

Компания Samsung может предложить пользователям Galaxy Ring новый метод зарядки.

Что известно

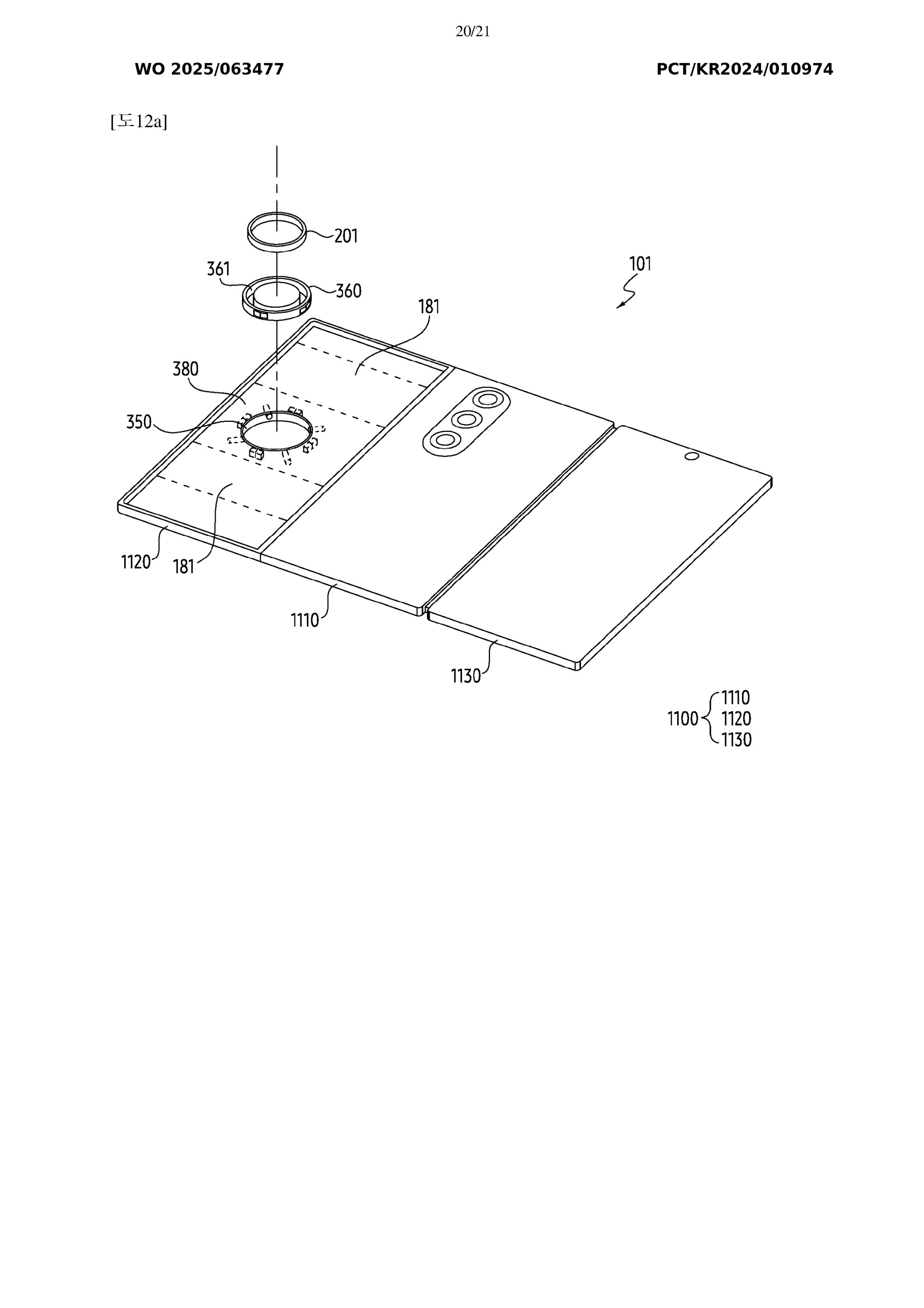
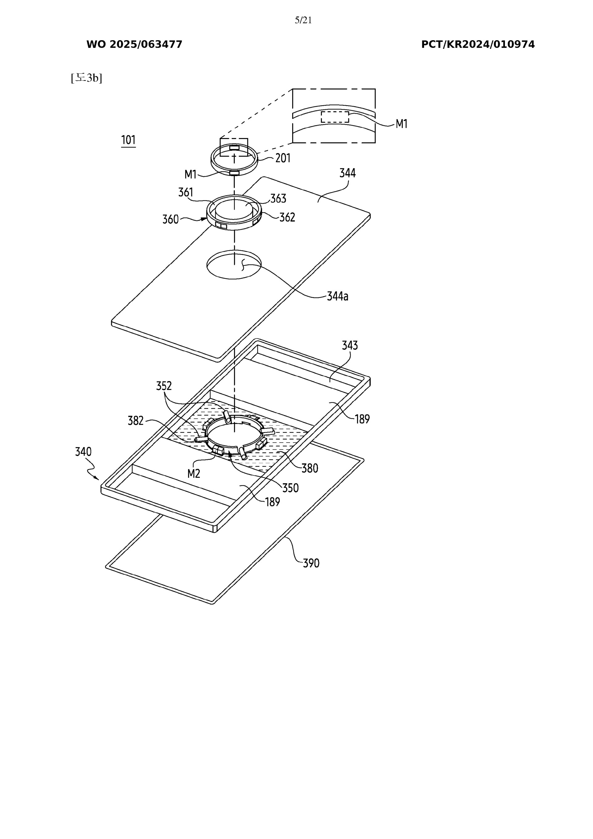
Согласно недавней патентной заявке Samsung, опубликованной Всемирной организацией интеллектуальной собственности (WIPO), компания рассматривает возможность зарядки Galaxy Ring через специальный слот на задней панели смартфона Galaxy.

Кроме того, во время такой зарядки смарт-кольцо сможет передавать данные о здоровье и физической активности на телефон.

В патенте не уточняется, будет ли этот слот встроен непосредственно в смартфон или станет частью специального чехла. Однако представленные схемы описывают как жесткие, так и гибкие конструкции смартфонов или чехлов, которые могут непосредственно заряжать Galaxy Ring.

Сейчас Galaxy Ring можно заряжать только с помощью специального зарядного кейса, который подключается через USB-C или беспроводную зарядку. Кроме того, зарядный кейс можно разместить на задней панели смартфона Galaxy с поддержкой Wireless PowerShare для питания.

Если предложенная в патенте технология станет реальностью, Galaxy Ring сможет заряжаться непосредственно от смартфона или чехла, что устранит зависимость от зарядного кейса. В то же время реализация такого метода может иметь определенные трудности: слот для зарядки сделает смартфон толще или заставит компанию менять расположение внутренних компонентов. Это также может повысить стоимость смартфонов, что не понравится пользователям, которые не планируют покупать Galaxy Ring.

Источник: ВОИС

Подписывайтесь на наш нескучный канал в Telegram, чтобы ничего не пропустить.