BMW запатентовала винты в форме своей эмблемы

Автор: Владимир Коломинов, 22 декабря 2025, 21:43
ИИ преобразовал патент в изображение: новые возможности в визуализации идей Изображение создано с помощью ИИ на основе патентного чертежа. Источник: AI

BMW подала в WIPO (Всемирная организация интеллектуальной собственности) патентную заявку на винты с головками, выполненными по образу логотипа компании.

Что известно

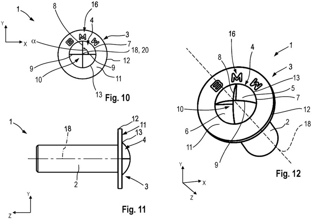
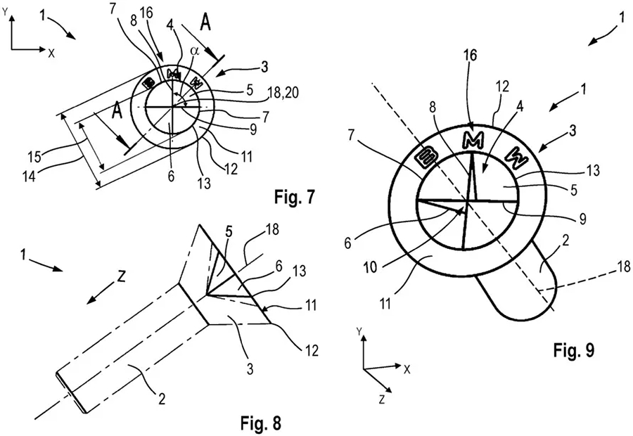
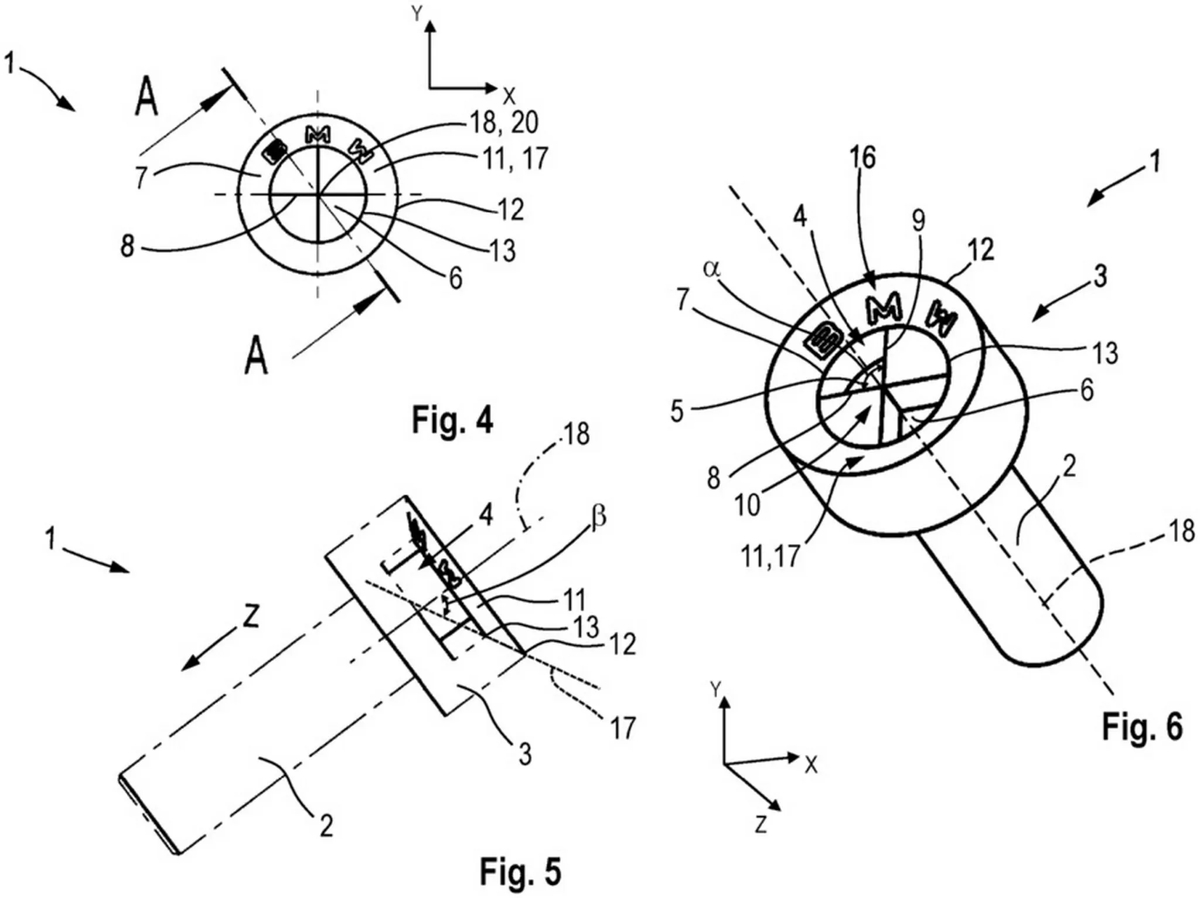
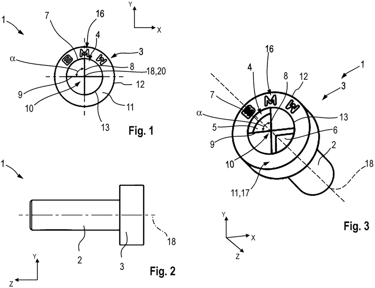
Патент описывает четыре типа головок, включая плоские и закругленные. Каждая из них повторяет форму эмблемы BMW, разделенной на четыре сектора. Два сектора утоплены, а остальные плоские либо выступающие.

На первый взгляд фирменные головки винтов выглядят интересно, особенно если использовать их на видимых частях автомобилей. Но для механиков или владельцев со стандартными наборами инструментов они намного менее привлекательны. Необычные формы винтов означают, что обычные инструменты не подойдут, и любому, кто хочет получить доступ к ключевым узлам, может понадобиться специальное оборудование BMW.

Нетрудно представить головную боль, которую это может вызвать в мастерских. Стандартные наборы не справятся, и если вы не дилер BMW или не преданный энтузиаст, скорее всего, вы обнаружите, что вам не хватает одной отвертки для полноценного ремонта.

Впрочем, появятся ли эти винты в производстве — вопрос открытый. Автопроизводители подают множество патентов, которые никогда не выходят за пределы чертежной доски. Эти конкретные чертежи были поданы 7 июня 2024 года и обнародованы 11 декабря 2025 года. Но пока остаются всего лишь чертежами.

Источник: Autoblog

Подписывайтесь на наш нескучный канал в Telegram, чтобы ничего не пропустить.