Sony запатентовала робота-геймера, который любит видеоигры и сериалы, и требует любви
Sony решила позаботиться об одинокой половине геймеров, запатентовав «игрока для совместного просмотра».
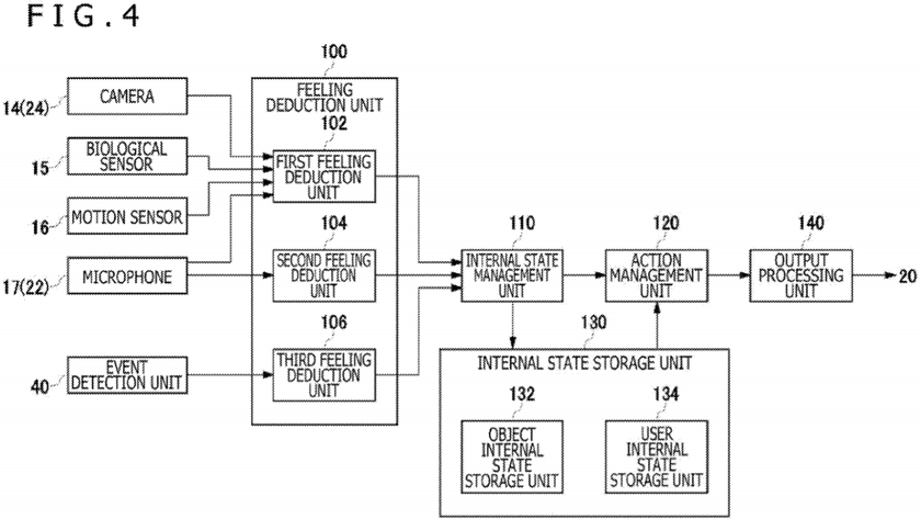
Что известно
Судя по документу, японцы придумали робота, который будет наблюдать за игровым процессом геймеров и реагировать на их достижения или неудачи. В патенте говорится, что таким образом электронный наблюдатель должен повысить мотивацию игрока. Ко всему робот может не только реагировать на игру, но и помочь в прохождении, взяв контроллер в руки.
Sony даже придумала, как связать эту технологию с
В патенте также упоминается параметр «уровень любви», который будет меняться в зависимости от отношения пользователя к роботу. Так, если «игрок для совместного просмотра» попросится на подзарядку, и пользователь будет долго игнорировать эту потребность, то робот подумает, что его не любят. В итоге электронный товарищ может и вовсе обидеться, и перестанет подбадривать игрока, чтобы тот задумался и внимательнее относиться к роботу.

Кибердруг даже будет следить за здоровьем игрока. Например, напоминая, что уже наступила ночь и пора бы пойти спать.
Патент выглядит слишком футуристично, потому вряд ли станет частью PlayStation 5. Скорее всего, Sony пришла в голову идея, и компания решила оставить ее себе, чтобы та же Microsoft ее не опередила.
В то же время японская компания все больше уделяет времени искусственному интеллекту. В конце 2019 года Sony даже открыла специальное подразделение по разработкам в области ИИ, а также публиковала патенты на «умных голосовых помощников». В DualSense добавили микрофон, так что он вполне может пригодиться для общения с ассистентом.
Для игроков, которые хотят знать больше:
- Новый трейлер Streets of Rage 4 раскрыл дату релиза игры и «Боевой режим»
- На Android и iOS выйдет Atom RPG — постапокалиптическая RPG в духе Fallout c ПК
- Конкурс от Wargaming: задай вопрос разработчикам World of Tanks и получи 1 000 «золота»
Лучшие аксессуары для геймеров по выгодной цене
- 10 самых самых продаваемых геймерских мышей с Aliexpress
- 7 лучших механических клавиатур на AliExpress
- 10 классных микрофонов с AliExpress для стрима
- 10 контроллеров для смартфонов и планшетов, улучшающих шансы выжить в PUBG и ее аналогах
- 10 самых продаваемых TWS-наушников с Aliexpress ценой до 25 долларов
Подписывайтесь на наш нескучный канал в Telegram, чтобы ничего не пропустить.
Энциклопедия Бизнес
Что такое litecoin: энциклопедия начинающего майнера
Как заработать биткоин: легкие деньги и не очень
Биткоин кошелек: выбираем фасон
Майнинг биткоинов – это не для слабаков
Ethereum: что это такое и с чем его майнят?
Как вывести биткоины, не выходя из себя
Что такое биткоин простыми словами: как он работает, и что о нем нужно знать